Questões do concurso:
CEFET-MG - 2025 - Técnico Laboratório/ Área Mecânica - CEFET-MG - 2025 - CEFET-MG
limpar filtros
50 Questões de concurso encontradas
Página 4 de 10
Questões por página:
Questões por página:
No que se refere aos objetivos do tratamento térmico dos aços, analise as afirmativas a seguir:
I. Reduzir a tensão interna proveniente de trabalho mecânico. II. Melhorar a usinabilidade para facilitar o corte. III. Melhorar a ductilidade dos aços para realização de trabalhos mecânicos.
Estão corretas
I. Reduzir a tensão interna proveniente de trabalho mecânico. II. Melhorar a usinabilidade para facilitar o corte. III. Melhorar a ductilidade dos aços para realização de trabalhos mecânicos.
Estão corretas
mostrar texto associado
Em relação ao sistema de ajuste e tolerância, assinale (V) para as afirmativas verdadeiras e (F) para as falsas.
( ) A região 1 do gráfico campo de tolerância é indicada para ajustes fixos. ( ) A região 3 do gráfico campo de tolerância é indicada para ajustes móveis. ( ) O campo de tolerância (h) indica um sistema de ajuste denominado eixo base. ( ) O campo de tolerância (F) indica que o furo será sempre maior que a dimensão nominal. ( ) O campo de tolerância acima da linha zero indica que todas as dimensões aceitáveis da peça são maiores que a dimensão nominal da cota.
A sequência correta é
( ) A região 1 do gráfico campo de tolerância é indicada para ajustes fixos. ( ) A região 3 do gráfico campo de tolerância é indicada para ajustes móveis. ( ) O campo de tolerância (h) indica um sistema de ajuste denominado eixo base. ( ) O campo de tolerância (F) indica que o furo será sempre maior que a dimensão nominal. ( ) O campo de tolerância acima da linha zero indica que todas as dimensões aceitáveis da peça são maiores que a dimensão nominal da cota.
A sequência correta é
mostrar texto associado
O sistema de ajuste percebido pela combinação do campo de tolerância H (furo) e f (eixo) é:
Analise a vista do desenho.

Os números destacados no desenho indicam linhas de:
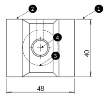
Analise o desenho técnico:
Em relação ao tipo de corte e à linha indicada pela seta, assinale a opção correta:
Em relação ao tipo de corte e à linha indicada pela seta, assinale a opção correta:
