Questões da prova:
Aroeira - 2023 - Prefeitura de Catalão - GO - Eletricista
limpar filtros
40 Questões de concurso encontradas
Página 3 de 8
Questões por página:
Questões por página:
Concurso:
Prefeitura de Catalão - GO
Disciplina:
Engenharia Elétrica
As normas que definem os níveis de tensão e seus tipos no Brasil são estabelecidas pela Agência Nacional de Energia Elétrica (ANEEL), que é a agência reguladora responsável pelo setor elétrico no país. A ANEEL estabelece essas normas através de resoluções e regulamentações específicas. No documento “Procedimentos de Distribuição de Energia Elétrica no Sistema Elétrico Nacional – PRODIST” da Agência Nacional de Energia Elétrica, é definido os níveis de tensão e seus tipos no Brasil. Nas alternativas as seguir marque a que descreve corretamente as classes de tensão definidas pela ANEEL
Concurso:
Prefeitura de Catalão - GO
Disciplina:
Eletrotécnica
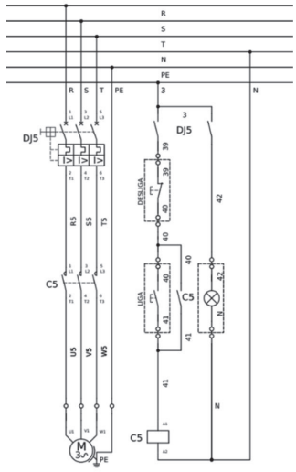
O motor elétrico, como um componente intrinsecamente ligado ao universo elétrico, requer a interação de múltiplos equipamentos para o pleno desempenho de suas funções. Esses equipamentos desempenham papéis de vital importância ao canalizar a energia elétrica, transformando-a com maestria em energia mecânica. Isso, por sua vez, viabiliza o movimento de máquinas, veículos e uma diversidade de aplicações industriais que sustentam o nosso mundo moderno. A figura abaixo apresenta de forma clara um diagrama trifilar que retrata o processo de partida direta de um motor elétrico. Dentre as opções fornecidas, selecione a alternativa que de maneira precisa, ordenada e correta elenca os equipamentos essenciais para a partida direta de um motor elétrico, seguindo o sentido da tensão primeiro no circuito de força e depois no circuito de comando.
Figura – Partida Direta de Motor.
Figura – Partida Direta de Motor.
Concurso:
Prefeitura de Catalão - GO
Disciplina:
Eletrotécnica
O processo de executar um diagnóstico de defeitos envolve coletar informações sobre o problema, analisar os sintomas, isolar a área afetada, identificar causas possíveis, realizar testes e experimentos, analisar os resultados, refinar hipóteses, identificar a causa raiz, implementar soluções, monitorar e verificar a correção do problema. Isso exige conhecimento, análise cuidadosa e, em alguns casos, expertise técnica ou ferramentas avançadas. O objetivo final é identificar a causa raiz e implementar soluções eficazes para resolver o problema. Em uma situação de manutenção corretiva, quais ensaios devem ser feitos para que seja descoberta a causa raiz de um problema elétrico? Marque a alternativa correta.
Concurso:
Prefeitura de Catalão - GO
Disciplina:
Não definido
Na área de manutenção é comum existir no mínimo dois tipos de manutenção, a manutenção corretiva e a preventiva. A manutenção corretiva repara equipamentos após falhas, visando restaurar o desempenho normal. É realizada após falhas para minimizar o tempo de inatividade. A identificação da causa raiz e soluções para evitar recorrências são comuns. A manutenção preventiva é proativa, prevenindo falhas por meio de inspeções regulares, substituições e ajustes conforme um cronograma. O objetivo é evitar problemas, reduzir falhas inesperadas e maximizar a eficiência. Pode envolver análise de dados e monitoramento contínuo para antecipar desgastes. Das opções de ações a seguir, qual delas descreve uma ação de manutenção preventiva correta, sendo que toda a instalação deve ser periodicamente verificada por pessoas credenciadas ou qualificadas, com uma frequência que varia de acordo com a importância da instalação?
Concurso:
Prefeitura de Catalão - GO
Disciplina:
Não definido
As redes elétricas são providas por componentes. A Norma ABNT NBR 5410 define componentes como: Termo empregado para designar itens da instalação que, dependendo do contexto, podem ser materiais, acessórios, dispositivos, instrumentos, equipamentos (de geração, conversão, transformação, transmissão, armazenamento, distribuição ou utilização de eletricidade), máquinas, conjuntos ou mesmo segmentos ou partes da instalação (por exemplo, linhas elétricas). A rede elétrica brasileira é composta por geração, transmissão, comercialização e distribuição, conforme mostra a imagem abaixo:
Figura - Como funciona o setor de energia elétrica no Brasil.
Em cada um destes sistemas (geração, transmissão e distribuição) existem componentes que são cruciais para o devido funcionamento da rede elétrica. Com base no exposto, marque a alternativa que melhor descreve corretamente os componentes desses sistemas
Figura - Como funciona o setor de energia elétrica no Brasil.
Em cada um destes sistemas (geração, transmissão e distribuição) existem componentes que são cruciais para o devido funcionamento da rede elétrica. Com base no exposto, marque a alternativa que melhor descreve corretamente os componentes desses sistemas