Questões da prova:
FCC - 2018 - MPE-PE - Analista Ministerial - Engenharia Civil
limpar filtros
50 Questões de concurso encontradas
Página 2 de 10
Questões por página:
Questões por página:
Concurso:
MPE-PE
Disciplina:
Engenharia Civil
Questão Anulada
Para aproveitar os recursos hídricos de um manancial para o abastecimento de água da população de uma localidade, foi projetada uma linha adutora com 5 000 m de comprimento. A perda de carga acidental na linha é 5 m e a perda de carga unitária na tubulação é 0,003 m/m. Considerando que as cotas a jusante e a montante da linha são, respectivamente,855 m e 820 m, a altura manométrica da linha adutora é
Concurso:
MPE-PE
Disciplina:
Engenharia Civil
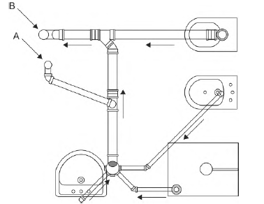
Considere a instalação hidrossanitária da figura abaixo.
A tubulação indicada com a letra A é de
A tubulação indicada com a letra A é de
Concurso:
MPE-PE
Disciplina:
Engenharia Civil
Em todas as obras de um mesmo projeto, os elementos pré-fabricados estruturais de laje devem ser submetidos à inspeção por ensaios em obras que apresentem
Concurso:
MPE-PE
Disciplina:
Engenharia Civil
Considere uma viga de ponte engastada em uma extremidade e a outra apoiada, com 4 m de vão.
Se a viga estiver submetida a um carregamento uniformemente distribuído de 40 kN/m, o valor do momento fletor máximo que traciona as fibras inferiores, em kNm, é
Se a viga estiver submetida a um carregamento uniformemente distribuído de 40 kN/m, o valor do momento fletor máximo que traciona as fibras inferiores, em kNm, é
Concurso:
MPE-PE
Disciplina:
Engenharia Civil
Considere uma viga biapoiada submetida a uma carga uniformemente distribuída de 20 kN/m representada na figura abaixo.
O momento fletor máximo, em kNm, é
O momento fletor máximo, em kNm, é